The next Xbox Elite Controller might have removable triggers
Microsoft's Xbox Elite Controller remains one of this generation's biggest peripheral success stories, and this patent could indicate future versions are on the way!
All the latest news, reviews, and guides for Windows and Xbox diehards.
You are now subscribed
Your newsletter sign-up was successful
Join the club
Get full access to premium articles, exclusive features and a growing list of member rewards.
The current Xbox Elite Controller allows you to fine-tune your gaming experience, with the option to swap out your joysticks and D-pad, and add an additional four buttons on the underside of the controller in the form of paddles. You can also remap all of the buttons, and toggle between two pre-defined configurations.
The controller's hair trigger locks are one of my favorite features, allowing you to activate the triggers with a minimal press. If this patent is any indication, the next Xbox Elite Controller could have fully customizable triggers to go with it.
It's always worth noting that patents don't equal products. This might just be a protective measure designed to prevent competitors from using the same method in future devices. It also might just be an internal design that might work better in a conceptual form rather than in reality. Either way, the detail in this particular patent is pretty exciting, and hey, it's fun to speculate.
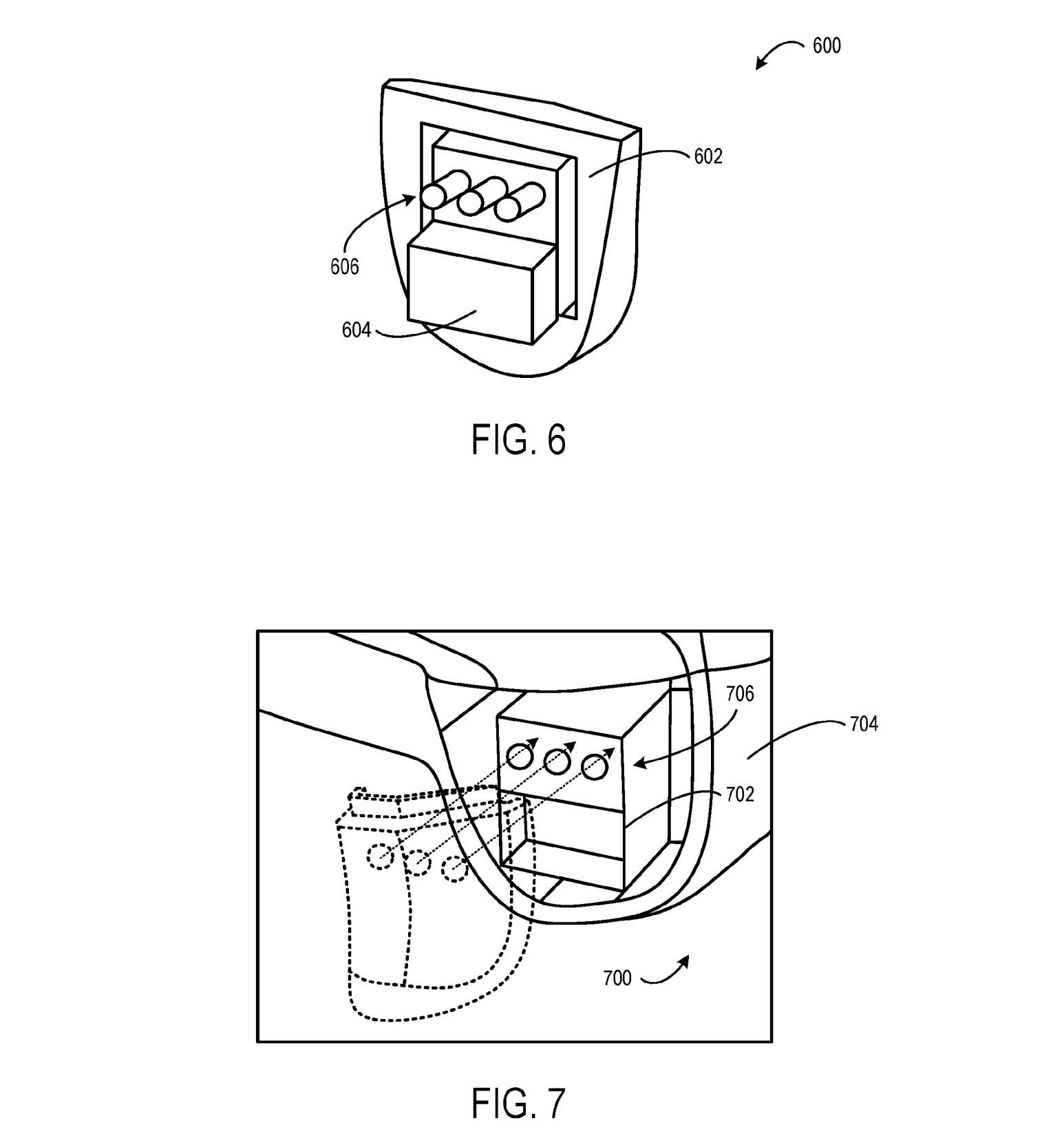
Article continues belowThe patent was filed originally in March 2016 but wasn't published until December 15th, 2016. It details an array of accessories for a controller with detachable triggers.
The patent details how trigger accessories would be held in place by magnets, similar to those used on the joystick and D-pad accessories bundled with the current Elite Controller. It also shows multiple types of triggers, including ones that look more like handlebars.
"The present disclosure is directed to a customizable game controller that includes one or more differently configured trigger-type controls that can be swapped out in a tool-free manner.""For example, differently configured removable trigger accessories may have different sizes, materials, ranges of motion, spring tensions, pull weights, and/or finger positions. In one example, such a configuration facilitates the use of differently configured removable trigger accessories that are customized for particular types of video games."
Handlebar triggers might grant the user greater precision in games like Forza, where controlling the accelerator pedal makes use of the entire range of activations available to the Xbox trigger. I feel there's also some scope for a wider range of branded accessories for triggers too, as video game manufacturers could build accessories that more fully match a game's aesthetic.
Either way, it's a potentially exciting evolution for the Xbox Elite Controller, which already lacks Bluetooth support as seen in the third-generation Xbox One S controllers. Even if this patent doesn't reach the production stage, I'd say it's clear that Microsoft isn't finished with Elite-style peripherals.
All the latest news, reviews, and guides for Windows and Xbox diehards.

Jez Corden is the Executive Editor at Windows Central, focusing primarily on all things Xbox and gaming. Jez is known for breaking exclusive news and analysis as relates to the Microsoft ecosystem — while being powered by tea. Follow on X.com/JezCorden and tune in to the XB2 Podcast, all about, you guessed it, Xbox!
