A new Surface patent looks to add digital inking to the back of your device
Microsoft has been exploring a range of inking solutions on the exterior of devices recently, and this new one takes aim at the Surface Pro.

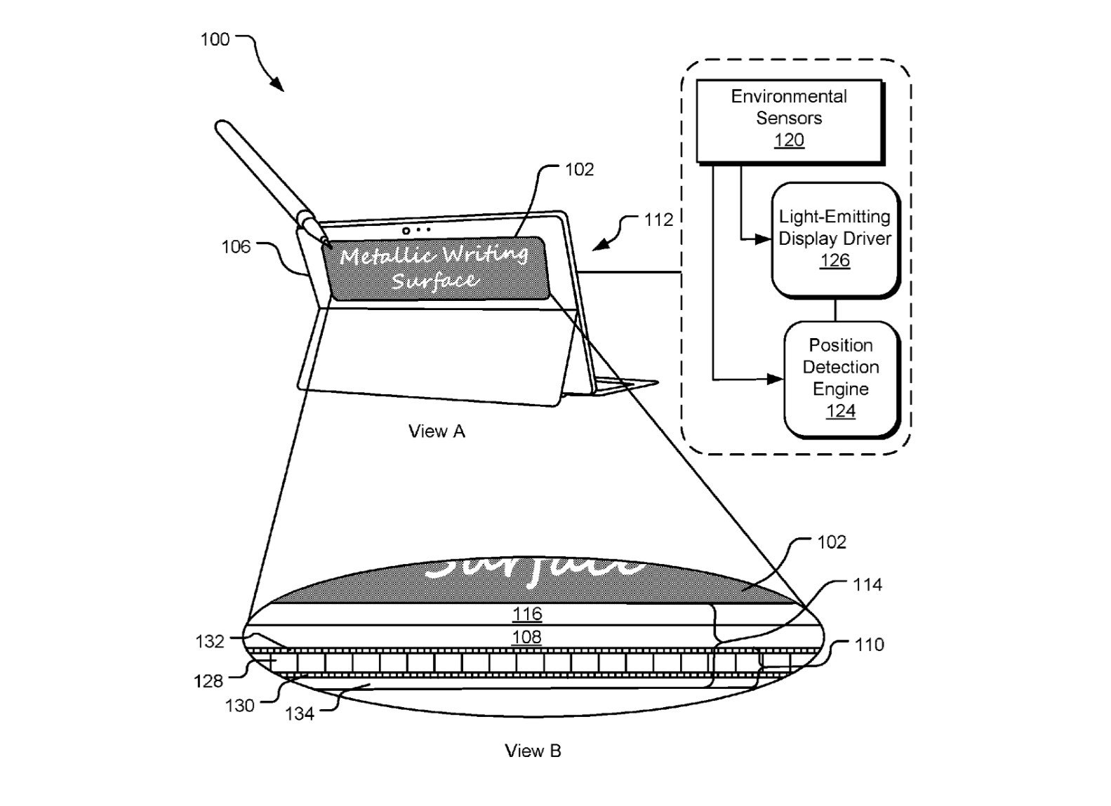
Microsoft has been exploring a range of external interaction solutions for its Surface devices as of late, including touch detection and inking on the mythical Surface "Andromeda" device. This new patent (spotted by Digital Trends) specifically showcases a Surface Pro, complete with "unused space" on the exterior shell being utilized for inking purposes.
"Some implementations of the disclosed technology further integrate touch sensing technology to facilitate use of the reflective external surface as an interactive writing surface. For example, a user may draw on the reflective external surface with a finger or stylus and the underlying display may selectively illuminate pixels at corresponding locations of the light-emitting display."
The patent goes into some detail to describe how different layers of the device could be utilized to feedback inking and touch information, placed on areas such as the back of your device or either side of the trackpad, which are typically used as wrist rests and little else. It seems Microsoft intends to further increase the versatility of their Surface devices through the use of these methods, as competitors muscle in on Redmond's 2-in-1 turf.
As always, patents don't necessarily translate into tangible products, but the ability to sketch a quick sticky note next to the trackpad or on the back of the device while it's in a sleep state seems pretty compelling to me. We'll keep an eye on this one.
All the latest news, reviews, and guides for Windows and Xbox diehards.

Jez Corden is the Executive Editor at Windows Central, focusing primarily on all things Xbox and gaming. Jez is known for breaking exclusive news and analysis as relates to the Microsoft ecosystem while being powered by tea. Follow on Twitter (X) and tune in to the XB2 Podcast, all about, you guessed it, Xbox!